產品關鍵字:直通式襯膠隔膜閥,襯膠隔膜閥,直通式隔膜閥,隔膜閥
直通式襯膠隔膜閥G46J-10專用于控制非腐蝕性或一般腐蝕性介質,閥體內腔表面無襯里或覆有可供選擇的各種橡膠、適用于不同工作溫度和液體管路。
產品名稱:直通式襯膠隔膜閥產品特點:設計與制造:BS5156 結構長度:BS5156 法蘭連接尺寸:BS4504、DIN2532、JIS B2212、ANSI B16.1、ISO2004
EG46W無襯里隔膜閥,EG46J直通式襯膠隔膜閥
適用溫度:≤85℃、≤100℃、≤120℃、≤150℃(按照襯里和隔膜材料)
壓力等級:PN(MPa) 0.6 1.0 1.6
材料:
閥體:鑄鐵、球墨鑄鐵、碳鋼、不銹鋼
閥蓋:鑄鐵、球墨鑄鐵、碳鋼、不銹鋼
襯里:無襯里、橡膠
隔膜:橡膠
閥瓣:鑄鐵、碳鋼
閥桿:碳鋼、不銹鋼
手輪:鑄鐵
測試:
襯里層:電火花檢測
試驗與檢驗按BS6755標準
公稱壓力:PN(MPa)
閥體:PN×1.5
密封:PN×1.1
結構特點:
隔膜閥是一種特殊形式的截止閥:
1. 彈性密封的開閉件,確保沒有內漏;
2. 流線型的流道,使得壓力損失小;
3. 沒有填料函,因此沒有外漏;
4. 閥體與蓋被中間隔膜隔開,使得隔膜上方的閥蓋,閥桿等零件不受介質侵蝕;
5. 隔膜可更換,維護費用低;
6. 襯里材料的多樣性,可適用于各種介質,并具有強度高、耐腐蝕性能好的特點。
附2、由於隔膜閥的流道平滑,流阻小,故而可獲得較大的流量。
附3、視膠隔膜閥的閥體內腔表面視復有廳供選擇的多種橡膠。因此具有優越的耐腐蝕的特點。
附4、由於密封件為富有彈性的橡膠隔膜。因此還具有較好的密封性和最小的關閉力。
中國.上玉集團有限公司是專業生產襯膠閥門的廠家,直通式襯膠隔膜閥訂貨須知:
一、①直通式襯膠隔膜閥產品名稱與型號②直通式襯膠隔膜閥口徑③直通式襯膠隔膜閥是否帶附件以便我們的為您正確選型。
二、若已經由設計單位選定的直通式襯膠隔膜閥型號,請按直通式襯膠隔膜閥型號直接向我公司銷售部訂購。
三、當使用的場合非常重要或環境比較復雜時,請您盡量提供設計圖紙和詳細參數,由我們上玉集團的專家為您審核把關。
感謝您訪問上玉集團公司網站,如有任何疑問您可以撥打我們的全國熱線電話:400-887-6587,我們一定會盡心盡力為您提供優質的服務。
EG46J,EG46J直通式襯膠隔膜閥
G46J-10,G46J-10直通式襯膠隔膜閥
EG46W,EG46W無襯里隔膜閥

|
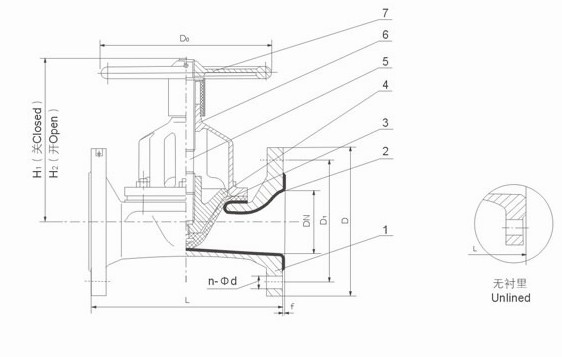
DN |
公稱壓力 |
工作壓力 |
L |
D |
D1 |
n-Фd |
f |
H1 |
H2 |
D0 |
質量 |
|
20 |
1.0 |
1.0 |
117 |
105 |
75 |
4-13.5 |
2 |
150 |
162 |
- | - |
|
25 |
127 |
115 |
85 |
4-13.5 |
2 |
150 |
162 |
120 |
3.5 | ||
|
32 |
146 |
140 |
100 |
4-17.5 |
2 |
152 |
180 |
120 |
5 | ||
|
40 |
159 |
150 |
110 |
4-17.5 |
2 |
152 |
180 |
120 |
6 | ||
|
50 |
190 |
165 |
125 |
4-17.5 |
2 |
163 |
198 |
120 |
8.5 | ||
|
65 |
216 |
185 |
145 |
4-17.5 |
2 |
205 |
227 |
230 |
16 | ||
|
80 |
254 |
200 |
160 |
8-17.5 |
2 |
220 |
252 |
230 |
22 | ||
|
100 |
305 |
220 |
180 |
8-17.5 |
2 |
262 |
300 |
280 |
32 | ||
|
125 |
0.6 |
356 |
250 |
210 |
8-17.5 |
3 |
290 |
335 |
280 |
43.5 | |
|
150 |
406 |
285 |
240 |
8-22 |
3 |
368 |
427 |
368 |
65 | ||
|
200 |
521 |
340 |
295 |
8-22 |
3 |
410 |
470 |
483 |
112.5 | ||
|
250 |
0.4 |
635 |
395 |
350 |
12-22 |
5 |
479 |
569 |
483 |
192.5 | |
|
300 |
749 |
445 |
400 |
12-22 |
5 |
550 |
650 |
560 |
296 | ||
|
350 |
787 |
505 |
460 |
16-22 |
5 |
550 |
650 |
560 |
- | ||
|
400 |
0.25 |
914 |
565 |
515 |
16-26 |
5 |
- | - |
640 |
|
可能產生的故障 |
原因 |
消除方法 |
|
手輪操作不靈活 |
1.閥桿彎曲 2.螺紋損傷 |
1.更換閥桿 2.修正螺紋,并加潤滑劑 |
|
氣動隔膜閥不能自動啟閉 |
1.起源壓力過低 2.彈簧頂緊力過大 3。橡膠隔膜損壞 |
1.調高供氣壓力 2.減少彈簧頂緊力 3.更換隔膜 |
|
閥體與閥蓋連接處滲漏 |
1.連接螺栓松動 2.閥體內膠層破裂 |
1.緊固連接螺栓 2.更換閥體 |
2022/11/7
襯氟閥門和襯膠閥門有哪些區別(都是什么材質的)2012/3/21
上玉襯膠閥門襯氟閥門-三十年的發展與輝煌2012/3/19
襯膠閥門與襯氟閥門的選型與訂購時的注意事項2012/3/8
襯膠閥門中襯膠隔膜閥的日常保養維護及維修的注意事項2012/2/28
襯膠閥門與襯氟閥門的市場現狀分析2012/2/21
襯膠閥門的主要襯里材料2012/2/15
上玉集團襯膠閥門、襯氟閥門(隔膜閥)產品2012/1/3
襯膠閥門與襯氟閥門的區別